China is driving forward the expansion of its navy at a rapid pace – At the center of this is a constantly growing fleet of aircraft carriers. While new carrier classes are expanding the operational possibilities of the People’s Liberation Navy, the technological push is also evident elsewhere: the number of relevant applications at the Chinese Patent Office is increasing rapidly.
Currently, the Chinese Navy has three aircraft carriers:
- The “Liaoning”, an incompletely equipped aircraft carrier with an aircraft launching ramp sold to China by Ukraine in 1998, which was refurbished and fully equipped by the Chinese navy after the purchase.
- The “Shandong”, the first Chinese self-built aircraft carrier, based on the “Liaoning” and also equipped with an aircraft launching pad, but with numerous electronic improvements compared to the “Liaoning”.
- The “Fujian”, a new Chinese development that is equipped with electromagnetic catapults and safety ropes instead of a launching ramp, whose successful practical test with three different types of aircraft (J-15T, J-35 and KJ-600) was announced by the Chinese navy on September 22. At a press conference on September 25, the spokesperson for the Chinese Ministry of Defense indicated that the imminent entry into service soon.
The activities in aircraft carrier construction over the past three decades are also reflected in the patent applications filed with the Chinese Patent Office (CNIPA) by Chinese applicants. Since 1993, for example, more than 400 different companies, research institutes and individuals have registered over 500 inventions with the term “aircraft carrier” in the title, with a particularly sharp increase from 2009 onwards, with two peaks in 2013 and 2018.
As patent applications are not published until 18 months after filing, the chart only provides a provisional snapshot of this period.
Below are some briefly outlined examples from various patent applications. The titles given are the author’s translations of the titles in the original Chinese documents.
Example 1: “Arrangement of aircraft hangars on aircraft carriers”
Instead of below the flight deck (2), the aircraft hangars (3) are arranged on the starboard side at the same height as the flight deck, which has the advantage that no aircraft lifts are required and flight operations are simplified.
This creates more space in the hull for accommodation, ammunition, fuel and electronic equipment. Helipads (5) can be provided on the hangars.
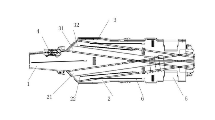
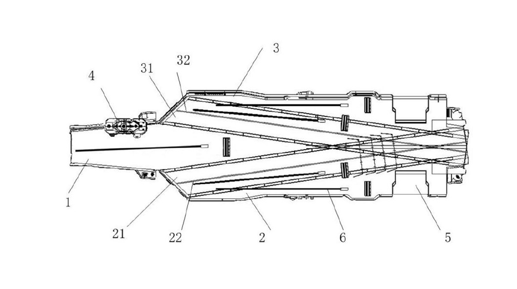
Example 2: “Lift deck aircraft carrier”
In addition to the main flight deck (1) with two catapults and two arresting devices for heavier aircraft, vertically movable secondary flight decks (2) for lighter aircraft are arranged on both sides of the carrier by means of hydraulic devices (7). The secondary flight decks each have a catapult (3) as well as catching devices (4) and turning devices (5). The island (6) for flight control and ship guidance is located centrally on the main flight deck.
When the secondary flight decks are lowered to hangar level, aircraft can be pushed directly from the hangar onto the turning devices, turned 90 degrees in the direction of take-off and launched quickly using the catapult without first having to be lifted onto the main deck. For landing aircraft, the secondary flight decks are raised to main deck height. The advantages of this configuration include a larger aircraft parking area and the ability to land two aircraft at the same time.
Example 3: “Deck layout of an aircraft carrier”
Various versions are proposed, of which only three are listed here. What they all have in common is a symmetrically designed deck with the island (4) near the bow and the lifts (5) at the stern. This layout allows more runways for take-off and landing and offers greater flexibility for different deployment scenarios.
Example 4: “Method and system for identifying fighter aircraft and personnel by capturing panoramic images of an aircraft carrier deck”
Using four camera units installed on the island and an electronic system comprising four modules for image capture, data transmission, image processing and results display, the number, position and identity of personnel and aircraft on deck are continuously recorded, with the advantage that the current situation can be recognized in real time faster than in the conventional way and with less personnel effort. This enables more efficient work processes on deck and contributes to greater safety for personnel.
In view of the large number and variety of people involved from industry and research, we can look forward to further interesting publications. However, it remains to be seen which of the ideas and concepts they contain will actually prove suitable for use and be implemented in practice.
Here for further articles on the Chinese armed forces.










